中心論題:
- 自動測試系統的構成及功能
- 各主要功能模塊的設計及實現方法
- 測試結果分析
解決方案:
- 使用自動測試系統使電磁兼容標準測試簡單化
- 使用自動測試系統節省標準測試方面的不必要的資源浪費
引 言
隨著科學技術的發展,人們在生產及日常生活中使用的電氣與電子設備也日益增多,而這些設備與其他物體及設備一樣,工作在一定環境之中。運行中的電氣、電子設備大多伴隨著電磁能量的轉換,往往對周圍環境中的其他用電設備發生影響,與此同時,電氣、電子設備本身也會受到其所處環境的各種電磁干擾。我國國內目前基于GJB、FCC、CISPR等的測試系統和軟件大多采用國外進口的配套軟件,這樣就相應地產生了很多問題。首先,由于技術的壟斷和關稅等問題,國外進口的配套軟件成本很高,對于一般的小型實驗室來說是不小的負擔;其次,國外的進口軟件僅適用于標準測試,用戶的可擴展性差,尤其是對于定位在EMC故障診斷及摸底實驗的實驗室更改測試參數不容易實現;最后目前對電磁兼容標準的測試存在對標準不清楚或者知道標準而無從下手的情況對實驗中的注意事項、實驗儀器、實驗方法、實驗配置和實驗布局等存在誤區,因而存在著大量的浪費和多余。本軟件根據此要求進行開發本軟件的目標使電磁兼容標準測試簡單化,以節省標準測試方面的不必要的資源浪費。對于電磁兼容標準自動測試系統軟件最終用戶為電磁兼容標準測試人員。EMI標準自動測試系統軟件將解決電磁兼容標準測試工作冗余的問題,實現電磁兼容標準測試簡單程序化。電磁兼容標準自動測試軟件以VB和VC++為開發語言。其中VB實現界面及數據庫功能,VC++實現程控儀器模塊的功能。
自動測試系統的構成及功能
a.硬件構成及功能:本系統的硬件構成主要有:①LISN(阻抗匹配穩定網絡):主要用于提供被測設備純凈電源及50 Q的穩定阻抗;②EUT(被測設備);③測試天線包括拉桿天線(10 kHz~30 MHz)、雙錐天線(30 MHz~200 MHz)、對數周期天線(200 MHz~1 GHz);④屏蔽電纜和轉接頭(N-SMA);⑤頻譜儀:用于數據采集;⑥GPIB連接線和GPIB卡:用于PC與頻譜儀之間的通信;⑦PC。為防止頻譜儀過載可選配高通濾波器。
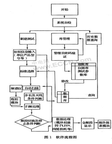
b.軟件構成及功能:本軟件功能采用模塊化方法實現主要由界面參數輸入及數據顯示模塊、數據庫管理模塊、程控及自檢模塊、報告報表模塊組成。本EMI標準自動測試軟件具備以下功能:①參數設置,包括測試標準的選擇,測試配置的提示,測試參數的設置,如測試頻段、測量帶寬、檢波方式、掃頻步進量、參考電平、分辨率帶寬、掃頻方式、傳感器系數、電纜損耗、衰減/放大器等;②控制儀器(頻譜分析儀)以一定的步長和速率對信號進行掃頻測量、判別和讀出數據;③數據處理能力.電磁輻射自動測量軟件能夠自動將測量的信號電壓轉換成干擾的量值,即自動補償因傳感器的使用而引起的隨頻率變化的校準系數,并可用線性或對數頻率坐標顯示出信號的頻率分布,同時自動與相應極限值進行比較,判別信號是否超標并在圖中表示出信號頻譜與極限值的關系;④數據的存儲和輸出能力,軟件可以將每次的測量數據以數據庫文件的形式進行保存,需要時提取,特別是傳感器系數和測試極限值都以數據文件的形式保存,便于數據處理和查詢時調用。⑤數據庫管理功能。主要對各標準的極限值,天線校準因子等進行數據管理。系統工作流程圖如圖1所示。

各主要功能模塊的設計及實現方法
a.初始界面及測試界面模塊
界面模塊貫穿于整個軟件系統是軟件的心靈之窗,它的優劣直接影響了用戶使用整個系統的感受。充分考慮了用戶的需求和當今軟件的發展趨勢之后,本文設計出人性化和易于理解的界面輸入程序。首先,標準選擇界面用戶只需選擇所需的標準系統會自動從數據庫篩選被選標準所規定的測試項目、分類、檢波方式、測試所需儀器等供用戶選擇并自動產生測試儀器連接配置圖。其次,軟件提供了多種界面風格及色彩,加入了當今軟件的流行元素,避免了用戶審美疲勞,如圖2、3所示。


b.程控及系統自檢模塊
程控及系統自檢模塊均由VC++以控件形式實現。由于本系統使用的是NI公司的GPIB總線實現通信所以在VC++編程環境中,通過調用GPIB32.dll動態連接庫使用其內部函數完成通信,儀器指令參照HP 8563EC編程指令編制主要代碼如下:

其中掃描函數的4個參數的作用是使掃描得到的數據自動入庫以便數據顯示模塊使用。
系統開機自檢可以調用Connect8563.Queryinstrument函數完成,函數返回值反映了系統目前的全部狀態如圖4所示。

c.數據處理模塊
這個模塊包括2個主要功能:首先極限值、LISN校準因子、天線校準因子的插值功能。以極限值為例:電磁兼容測試標準要求的極限值并不連續,而測試結果是連續的,因而在程序設計時,要根據有限的幾個極限值進行插值,以確定頻譜儀掃頻的起始、截止頻率對應的極限值。根據這2個頻點的極限值再進行第二次插值,確定頻譜儀上每個點對應的極限值。兩次插值均是在對數坐標系下進行線性插值。其他因子的插值算法與極限值插值類似。其次是數據及單位轉化如下:

式中:CL為電纜損耗;PAG為前置放大器增益;P為從頻譜儀得到的功率值;107為50 Ω系統中功率與電壓的轉換參數。
d.報告報表模塊
由于EMI標準測試會產生大量的數據,而且如果需要的到我們關心的超標頻點的情況需要花費很大精力將標準中規定的極限值與測試數據比較。自動測試軟件的自動報告報表功能能給測試節約大量的人力物力,它自動進行數據的比較計算后生成標準的報表,而且可以根據給定的格式生成測試報告,做到快照式的測試即測試任務完成就可以馬上拿到測試數據現場分析現場馬上解決問題。
測試結果分析
由于本系統定位為電磁兼容預兼容實驗,所以系統的誤差分析主要是與標準實驗室數據對比得出,一般來說預兼容實驗與標準實驗室測試結果誤差不超過3~6 dB為合格,誤差主要來源為實驗室不理想,必然帶來諸如環境電平過大,墻壁反射及墻壁對天線方向圖的影響等誤差。通過對某信息設備輻射發射測試結果分析可得,超標頻點誤差為3 dB左右,本底噪聲誤差為5 dB左右,符合要求。
結 論
EMI標準自動測試軟件具有執行效率高、儀器同步性好、模塊化設計、易于維護的諸多優點。VC++編制的程控指令具有很高的可移植性,可以移植到Agilent多數儀器和41所部分頻譜儀,對日后的程控系統的開發具有很好的借鑒意義。本系統解決了傳統測試的很多缺點和弊端,簡化了測試過程大大提高了EMI標準測試的工作效率,在電磁兼容領域有廣泛的應用前景。
去焊接工藝與測試社區看看



