【導讀】氮化鎵 (GaN) 半導體在 20 世紀 90 年代初首次作為高亮度藍色發光二極管 (LED) 投入商業應用,隨后成為藍光光盤播放器的核心技術。自此以后雖已取得長足進步,但在將近二十年后,該技術才因其高能效特性而在場效應晶體管 (FET) 上實現商業可行性。
氮化鎵 (GaN) 半導體在 20 世紀 90 年代初首次作為高亮度藍色發光二極管 (LED) 投入商業應用,隨后成為藍光光盤播放器的核心技術。自此以后雖已取得長足進步,但在將近二十年后,該技術才因其高能效特性而在場效應晶體管 (FET) 上實現商業可行性。
氮化鎵目前是半導體行業增長最快的細分市場之一,復合年增長率估計在 25% 至 50% 之間,其驅動力來自對能效更高設備的需求,以期實現可持續發展和電氣化目標。
與硅晶體管相比,氮化鎵晶體管可以設計出體積更小、效率更高的器件。氮化鎵最初用于高功率微波放大器系統,由于氮化鎵制造的規模經濟性和制造小型、功率更大放大器的能力,其應用范圍不斷擴大,形成了一個數十億美元的設備市場,涵蓋消費、工業和軍事應用領域。
人們普遍認為硅 MOSFET 已達到其在電力電子領域的理論極限,而氮化鎵 FET 在進一步提高性能方面仍有巨大潛力。氮化鎵半導體最常使用碳化硅 (SiC) 作為襯底,其次是更經濟的硅或性能最好但最昂貴的金剛石。與硅基器件相比,氮化鎵器件的工作溫度更高,且電子遷移率和速度更高,反向恢復電荷更低或為零。
氮化鎵功率半導體的功率密度約為砷化鎵功率放大器半導體的五倍。與砷化鎵和側向擴散金屬氧化物半導體 (LDMOS) 等替代品相比,氮化鎵半導體的功率效率達 80% 或更高,可提供更出色的功率、帶寬和效率。目前,該技術已被廣泛應用于各種領域,從快速充電電源適配器到納入汽車高級駕駛輔助系統 (ADAS) 的光探測和測距 (LiDAR) 設備。
數據中心是基于氮化鎵的器件的另一個新興市場,這些器件可以滿足日益增長的功耗和冷卻要求,從而降低成本,并有助于解決運營商在監管和政治層面面臨的日益增多的環境糾紛。
半導體制造商和市場研究公司還預測,從更高效的電池到電池牽引逆變器,電動汽車的低壓和高壓應用市場將不斷增長。
迄今為止,這一領域一直是碳化硅器件占據主導地位,與氮化鎵一樣,碳化硅器件被歸類為寬帶隙 (WBG) 半導體,具有高電子遷移率——能夠讓電力電子元件比硅基元件更小、更快、更可靠、更高效。氮化鎵的帶隙為 3.4 eV,而碳化硅的帶隙為 2.2 eV,碳化硅的帶隙為 1.12 eV。
與硅相比,氮化鎵和碳化硅功率半導體的工作頻率更高、開關速度更快、傳導電阻更低。碳化硅器件可以在更高的電壓下工作,而氮化鎵器件則能以更低的能量提供更快的開關速度,從而能夠讓設計人員減小尺寸和重量。碳化硅可支持高達 1,200 伏的電壓,而氮化鎵通常被認為更適合最高 650 伏的電壓,盡管最近推出了更高電壓的器件。
與砷化鎵和其他半導體相比,氮化鎵可提供約 10 倍的頻率范圍功率(圖 1)。
圖 1:微波頻率范圍電力電子器件之比較。(來源:Analog Devices, Inc.)
設計考慮因素
據估計,全球消耗的電能中有 70% 或以上是被電力電子設備消耗的。依托氮化鎵的 WBG 特性,設計人員可以利用其更高的功率密度、出色的效率和超快的開關速度,打造出更小的功率電子系統。
該技術為電力電子、汽車、太陽能存儲和數據中心等多個市場帶來了創新。氮化鎵器件具有很強的抗輻射能力,非常適合新興的軍事和航空航天應用。
有些電子設計人員可能由于對材料成本的誤解而放棄使用氮化鎵功率器件。雖然氮化鎵襯底的制造成本最初遠高于硅襯底,但這一差距已大大縮小,而且不同襯底的使用能夠讓設計人員在成本和性能之間找到最佳平衡點。
硅基氮化鎵為設計人員提供了最廣闊的市場潛力,在成本和性能之間實現了最佳平衡。不過,有了硅基氮化鎵和金剛石基氮化鎵這兩種選擇,產品設計人員可以選擇最合適的襯底,以滿足其組織和客戶對性價比的需求。
由于氮化鎵的開關速率非常高,設計人員需要特別注意電磁干擾 (EMI),以及如何在電源回路布局中減輕這種干擾。有源柵極驅動器對防止電壓過沖至關重要,可減少開關波形產生的電磁干擾。
另一個關鍵的設計問題是可能導致誤觸發的寄生電感和電容。性能優勢的最大化取決于橫向和縱向電源回路的最佳布局,以及驅動器速度與設備速度的匹配。
設計人員還必須優化熱管理,防止過熱影響性能和可靠性。應根據封裝在減少電感和散熱方面的能力對封裝進行評估。
Analog Devices 推出氮化鎵功率放大器
電子系統需要在能源所供電壓和電路所需供電電壓之間進行轉換。首屈一指的半導體公司 Analog Devices, Inc. (ADI) 一直致力于提供業界領先的高性能氮化鎵功率放大器和技術支持,能夠讓設計人員實現最高性能目標,并更快地將其解決方案推向市場。
柵極驅動器和降壓控制器對于最大限度地發揮氮化鎵功率器件的優勢至關重要。半橋氮化鎵驅動器可提高電源系統的開關性能和整體效率。DC-DC 降壓轉換器可將較高的輸入電壓轉換為較低的輸出電壓。
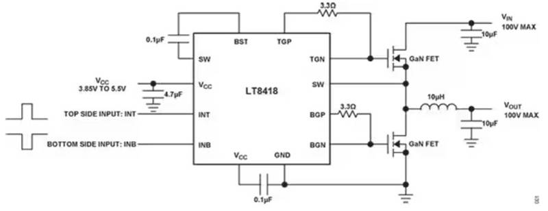
ADI 提供的 LT8418 是一款 100 V 半橋 GaN 驅動器,集成了頂部和底部驅動器級、驅動器邏輯控制、保護和自舉開關(圖 2)。它可配置為同步半橋降壓或升壓拓撲結構。分路柵極驅動器可調整氮化鎵場效應晶體管的導通和關斷壓擺率,從而優化 EMI 性能。
圖 2:ADI 基于 GAN 的 LT8418 開關 DC/DC 轉換器原理圖。(來源:Analog Devices, Inc.)
ADI GaN 驅動器輸入和輸出具有默認低電平狀態,以防止 GaN FET 誤導通。憑借 10 ns 的快速傳播延遲以及頂部和底部通道之間 1.5 ns 的延遲匹配,LT8418 適用于高頻 DC/DC 轉換器、電機驅動器、D 類音頻放大器、數據中心電源以及消費、工業和汽車市場的各種電源應用。
LTC7890 和 LTC7891(圖 3)分別是高性能、雙通道和單通道降壓型 DC 到 DC 開關穩壓器控制器,用于從最高 100 V 的輸入電壓驅動 N 溝道同步 GaN FET 功率級。這些控制器旨在解決設計人員在使用氮化鎵場效應晶體管時面臨的諸多挑戰,無需硅 MOSFET 解決方案通常使用的保護二極管或其他額外外部元件,從而簡化了應用設計。
圖 3:ADI 的 LTC7891 降壓控制器。(來源:Analog Devices, Inc.)
每個控制器都能讓設計人員精確調節 4 V 至 5.5 V 的柵極驅動電壓,以優化性能,并允許使用不同的 GaN FET 和邏輯電平 MOSFET。內部智能自舉開關可防止 BOOSTx 引腳在死區時間向 SWx 引腳高壓側驅動器電源過度充電,從而保護頂部 GaN FET 的柵極。
這兩個元件都在內部優化了兩個開關邊沿的柵極驅動器時序,使死區時間接近于零,從而提高了效率,實現了高頻率運行。設計人員還可以使用外部電阻器調整死區時間。這些器件采用方形扁平無引腳 (QFN) 封裝,帶可潤濕側翼。原理圖展示了采用 40 引腳、6 mm x 6 mm LTC7890(圖 4)和 28 引腳、4 mm x 5 mm LTC7891(圖 5)配置的典型應用電路。
圖 4:使用 ADI 的 LTC7890 的典型應用電路原理圖。(來源:Analog Devices, Inc.)
圖 5:使用 ADI 28 引腳 LTC7891 的降壓穩壓器原理圖。(來源:Analog Devices, Inc.)
設計人員還可利用 ADI 電源管理工具組合實現電源性能目標并優化電路板。該工具套裝包括可變降壓電阻計算器、信號鏈功率配置器和基于 Windows 的開發環境。
結語
氮化鎵是一種變革性的半導體材料,用于生產具有高功率密度、超快開關速度和卓越能效的元件。產品設計人員可以利用 ADI 的 GaN FET 柵極驅動器產品,以更少的元件打造出更可靠、更高效的系統,從而實現更小的系統尺寸和重量。
(作者:Pete Bartolik)
免責聲明:本文為轉載文章,轉載此文目的在于傳遞更多信息,版權歸原作者所有。本文所用視頻、圖片、文字如涉及作品版權問題,請聯系小編進行處理。
推薦閱讀:
貿澤贊助的DS PENSKE電動方程式賽車隊蓄勢待發 即將在電動方程式世界錦標賽上海站閃亮登場



