【導讀】盡管這些年各種無線互連技術在物聯網領域攻城略地,出盡了風頭,但是在很多應用場景中,有線互聯組網仍然不可替代。特別是以太網技術,憑借其可靠、安全、高速和成本優勢,在視頻監控、智能照明、樓宇控制等領域一直占據著重要的地位。
不過,以太網想要延伸到更多的應用中,實現“無處不在”的目標,有個關鍵的問題必須解決,那就是聯網設備的供電。與電池供電設備相比,通過以太網聯網的設備通常所需功率都較高,它們如果都通過110V/220V交流市電去取電,僅電源系統布線的成本就不是一個小數目。
隨著以太網的發展,人們自然而然的會考慮是否可以利用以太網現有的空閑線路或信號線路去為終端接入設備供電?這樣一來,以太網在進行高速信號傳輸的同時,還能提供直流電源,用戶只需將設備通過RJ-45接口接入以太網,即可實現“一網兩用”。這個概念就是以太網供電(PoE,Power over Ethernet)。
PoE標準進化史
PoE的想法固然好,但是想要成為一個可以大面積商用的技術,特別是要解決不同設備間兼容性的問題,就必須有標準的加持。IEEE 802.3就是這個定義了PoE各項技術規范的標準,它明確定義了PoE供電設備(PSE)和受電設備(PD)的特性和交互關系。在過去的十多年間,IEEE 802.3標準已經歷經的三個版本的更迭,而貫穿其發展的一條主線,就是“不斷提升的供電功率”。
802. 3af(PoE)
第一代PoE的標準是2003年發布的IEEE 802. 3af,基于這一版標準,位于路由器、交換機和集線器的PSE設備可以通過以太網電纜向IP電話等PD設備提供不超過15W的直流功率。
802.3at(PoE+)
而隨著以太網接入設備的多樣化,15W的功率很快就遇到了“天花板”,這也就催生了第二代的PoE標準IEEE 802.3at。這個2009年發布的標準規定可以通過CAT-5或更高級別線纜提供最大約30W的功率,這個標準也被大家簡稱為PoE+。
802.3bt(PoE++)
在不斷發展的市場需求推動下,經過近十年的醞釀,2018年9月第三版的PoE標準IEEE 802.3bt獲得批準。由于在以太網電纜的8根導線(4對導線)上都加載了電壓,新標準充分利用了網線的功率承載能力,將最大功率提升到90W。而且IEEE 802.3bt增加了兩種PoE設備類型(Type 3和Tyep 4)以及4種功率等級的定義,支持的PoE應用更為豐富;Autoclass等新特性,讓供電的精確性和效率也上了一個臺階。雖然這一PoE新標準還未正式命名,但鑒于這些顯著增強的“能力”,人們習慣性地將其稱為“PoE++”。

圖1,IEEE 802.3bt標準系統原理框圖(來源:網絡)
更智能的控制
如果我們仔細觀察IEEE 802.3bt,會發現新標準對未來PoE應用開發的價值,不僅體現在功率范圍的提升,還在于更豐富而細致的功率分級,可以為不同功率要求的垂直應用按需供電,確保可用能量和數據傳輸帶寬的最大化,在能效方面也會有更佳的表現。簡言之,新標準可讓PoE實現更為智能化的管理。

表1,PoE標準中功率等級定義
PoE系統中,電力傳輸通過PSE和PD之間的握手協議來管理——PSE會檢測PD是否支持PoE及其設備類型、所屬的功率等級,并根據這些信息為PD提供所需的電力。
一個典型的PoE協議過程包括四個部分:
檢測:PSE設備通過端口發出一個低電壓脈沖,以檢測網絡中接入的受電設備(PD)是否符合IEEE802.3標準要求。
分級:當PSE確認PD符合要求后,PSE會將輸出電壓進一步提高,用一個探測電壓來確認PD的功率等級——通常PD設備會在線路中串聯一個分級電阻,來標識自己的功率,PSE通過測試返回特征電流的大小來確定PD設備的功率等級。
供電:經過上述的“對話”之后,PSE會向PD輸出滿足其所需的直流電。
維護:PSE會實時監測供電功率,進行斷路檢測和單端口過載檢測:當PD超載或短路后,PSE供電會中斷并重新開始檢測過程;如果PD的連接斷開或關閉,PSE會停止為其供電。
上述PoE協議的管理,是通過一顆專門的PD控制器芯片來完成的,而IEEE 802.3bt新標準的實現,自然少不了符合新標準的PD控制器來支持。
符合新標準的PD控制器
為了滿足IEEE 802.3bt新標準的需要,安森美半導體今年9月推出了最新的PoE-PD控制器NCP1095和NCP1096,它們不僅支持新標準的所有規范要求,還向后兼容原有標準,同時支持將功率擴展到100 W,用于一些特定的電信和數字標牌應用。

圖2,安森美推出符合IEEE 802.3bt的PoE-PD控制器(來源:安森美半導體)
NCP1095和NCP1096還支持IEEE 802.3bt新增的Autoclass能量管理特性,讓PD能夠將其特定的功率需求傳遞給PSE,以實現PoE系統更精準的控制。當NCP1095或NCP1096的Autoclass功能被激活時, PSE開始向PD供電,系統將在1.35秒內達到其功率等級規定最大的功率水平,并將這個最大的負載功率保持至少3.65秒,在這個過程中PSE將檢測PD的實際功率消耗,并據此向PD分配相應的功率。

圖3,Autoclass工作過程(來源:安森美半導體)
此外,為了進一步提升集成度和系統功效,NCP1096還集成了N通道MOSFET負載開關,可在輔助電源為PD供電時改善功效表現。

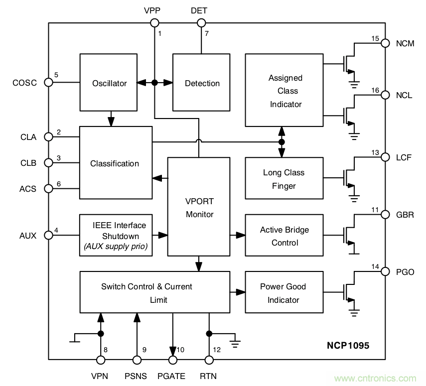
圖4,NCP1095系統框圖(來源:安森美半導體)

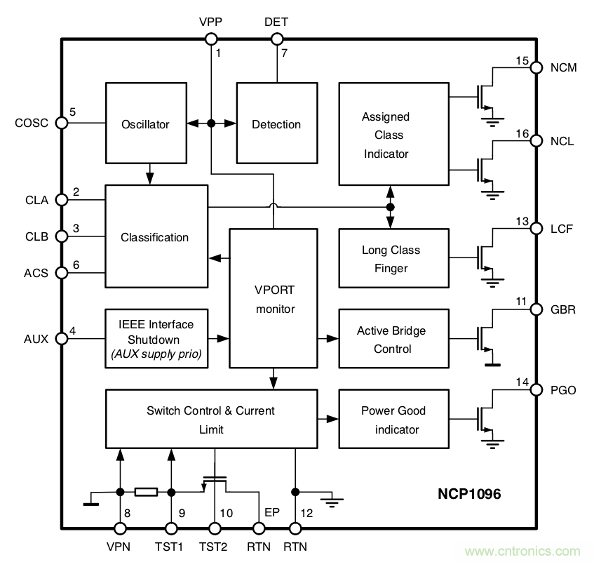
圖5,NCP1096系統框圖(來源:安森美半導體)
其他PoE-PD控制器需要的特性,NCP1095和NCP1096在產品定義中也考慮得很周全。其主要的性能特點歸納如下:
● 完全符合IEEE 802.3bt、IEEE 802.3af和IEEE 802.3at標準
● 保證PoE設備之間的互操作性
● 最多支持5事件物理層分類
● 分配功率高達90W
● 采用內部71mΩ傳輸晶體管,支持大功率應用
● 連接輔助電源時,有源電橋和熱插拔FET功能禁用,從而提高了功效(僅限NCP1096)
● 支持Autoclass操作
● 浪涌電流限制:135mA(典型值)
● 開漏電源良好指示器
● 支持簡短的MPS
● 支持開關禁用輸入以進行后輔助電源操作
● 專有的100W+應用
● 過流保護
● 過熱保護
● 結溫范圍:-40°C至+125°C
● 封裝類型:TSSOP-16
● 無鉛,符合RoHS指令
完整的方案
當然,為了快速響應最新的PoE標準,在市場中占據領跑位置,安森美半導體除了PD控制器,還配以DC-DC控制器、MOSFET等產品形成了一整套IEEE 802.3bt解決方案。該方案可有效替代傳統的PoE應用中的二極管橋方案,實現更大的功率(標準90W,專用100W)和更高的能效。

圖6,基于NCP1096的IEEE 802.3bt以太網供電完整解決方案(來源:安森美半導體)
安森美半導體802.3bt PoE方案核心元器件
● NCP1095或NCP1096 PD控制器
● NCP1566 DC-DC控制器
● FDMC8622單MOSFET、FDMQ8203和FDMQ8205A GreenBridge™四通道MOSFET
根據IHS Markit的分析,2017年到2022年間,以太網供電市場將保持14%的年復合增長率,可以說是當今功率半導體發展最快的市場之一。IEEE 802.3bt這一PoE新標準的出臺,會讓更多基于以太網的物聯網應用成為可能,令聯網設備的功能得以加強。
不想錯過這場功率半導體的盛宴?安森美半導體符合IEEE 802.3bt標準的PD控制器,及其完整解決方案,是一個不錯的選擇!貿澤電子也會持續將來自業界知名廠商的新技術和方案呈現在你面前。
出處:貿澤電子公眾號
微信號:mouserelectronics
推薦閱讀:






